産品詳(xiang)情
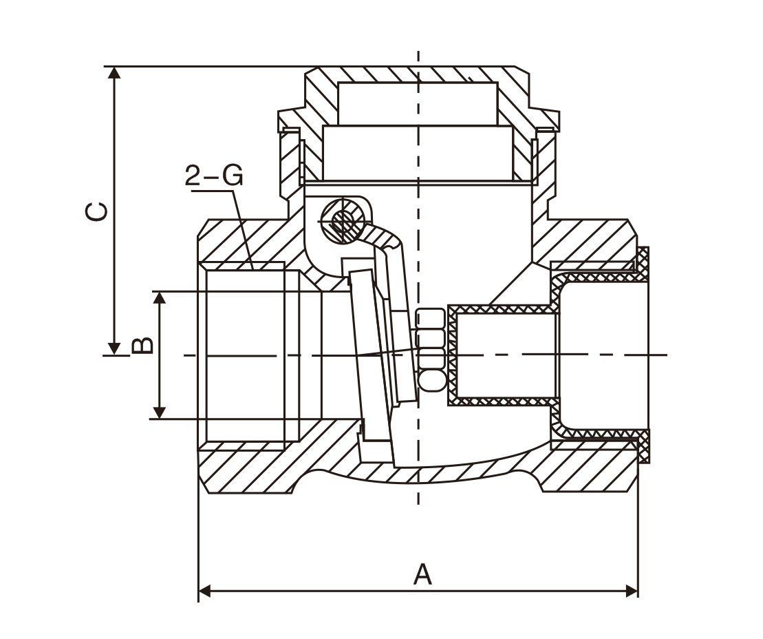
主要外形(xíng)尺寸
|
DN(mm) |
NPS(in) |
A |
B |
C |
G |
SW
|
|
15 |
1/2 |
48 |
13 |
34 |
1/2 |
26
|
|
20 |
3/4 |
58 |
18 |
40.5 |
3/4 |
32 |
|
25 |
1 |
65.5 |
21 |
46 |
1 |
40 |
|
32 |
11 / 4 |
71 |
28 |
51.5 |
11 / 4 |
48 |
|
40 |
11 / 2 |
83 |
32 |
57.5 |
11 / 2 |
54 |
|
50 |
2 |
95 |
41 |
68.5 |
2 |
66.5 |
|
65 |
21
/
2
|
102 |
54 |
85.5 |
21 / 2 |
83 |
|
80 |
3 |
147 |
75 |
95.5 |
3 |
96 |
|
100 |
4 |
162 |
85 |
110 |
4 |
123 |
産品推薦
蘇公網安備 32010202011315号(hao)